Kotwa płytkowa dla płyt typu „Sandwich“



Prefabrykaty typu Sandwich są wielowarstwowymi płytami, składającymi się zazwyczaj z 3 warstw. 
Warstwa nośna ma zazwyczaj grubość od 12 do 16cm i zazwyczaj znajduje się po wewnętrznej stronie 
budynku. Warstwę pośrednią stanowi zwykle izolacja termiczna o grubości od 6 do 10 cm i wytworzona jest z polistyrenu, styroduru, wełny mineralnej lub isoveru. Nośna, wysunięta warstwa jest zazwyczaj 
widoczna, umieszczona wewnątrz budynku, ma grubość od 6 do 8 cm. Płyty typu Sandwich mają 
zastosowanie jako podstawowe ściany obwodowe, nośne lub osłonowe budynków. Płyty typu Sandwich czasem składają się z 4 warstw, w których między wewnętrzną, cienką warstwą zewnętrzną, a izolacją cieplną znajduje się szczelina powietrzna zapewniająca wentylację.

Połączenie nierdzewne ma za zadanie łączyć zewnętrzną i wewnętrzną warstwę, przenieść wagę wewnętrznej i pośredniej warstwy do warstwy nośnej i zapobiec przesunięciom bądź obróceniu poszczególnych warstw. Elementy łączące znajdują się w szczelinie powietrznej bądź w izolacji cieplnej i są poddawane działaniom czynników korozyjnych. Dlatego też do tych połączeń używa się stali nierdzewnej, kwasoodpornej. Oprócz warstw nośnych do tych połączeń używa się również płaskich kotew nośnych, szpilek, pętli i wieszaków łączących, które zapobiegają deformacjom i wybrzuszeniom wewnętrznej cienkiej warstwy wierzchniej. 


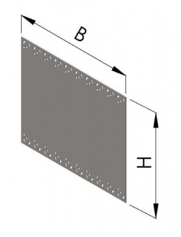
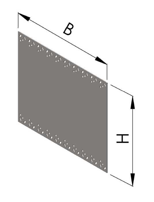
Tabela rozmiarów

szer. B 
mmwys. H mmnr kat.
gr. 1,5 
mmnr kat.
gr. 2,0 
mm
4015021572157 2
8015021582158 2
12015021602160 2
16015021642164 2
20015021652165 2
24015021662166 2
28015021672167 2
32015021682168 2
36015021692169 2
40015021702170 2
4017521032103 2
8017521002100 2
12017521022102 2
16017521042104 2
20017521062106 2
24017521082108 2
28017521102110 2
32017521122112 2
36017521142114 2
40017521162116 2
4020021012101 2
8020021182118 2
12020021202120 2
16020021222122 2
20020021242124 2
24020021262126 2
28020021282128 2
32020021302130 2
36020021322132 2
40020021342134 2
4022521352135 2
8022521362136 2
12022521382138 2
16022521402140 2
20022521422142 2
24022521442144 2
28022521462146 2
32022521482148 2
36022521502150 2
40022521522152 2
4026021802180 2
8026021812181 2
12026021822182 2
16026021832183 2
20026021842184 2
24026021852185 2
28026021862186 2
32026021872187 2
36026021882188 2
40026021892189 2

* Zastrzegamy sobie prawo do błędów typograficznych. Zmiany techniczne są możliwe bez wcześniejszego powiadomienia.